挑战  
泰国钢索有限公司是一家汽车和摩托车控制电缆以及汽车车窗调节器的制造商。该公司是日本海德世的合资企业,位于泰国春武里府的工业区,他们的目标是通过生产最高质量的产品,成为世界级的汽车零部件制造商。
 
 
 
 
泰国钢索有限公司的技术研发专家一直致力于创新和开发工艺,为成为领先的汽车控制电缆制造商铺平道路。公司团队一直致力于开发一种使用聚酰胺等塑料材料的机器人手臂,这是因为目前的铸铁制造机器人手臂不仅很重,而且非常昂贵。
 
 
 
 
所以,泰国钢索有限公司正在探索使用塑料等替代材料,以降低成本并降低整体重量。为了成功地用替代材料设计机械手臂,泰国钢索正在寻找一种用户界面友好且能提供准确结果能力的仿真模拟软件。
 
  解决方案  
 
 
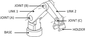
图:机械手臂的结构
 
如果只是通过物理原型设计,使用具有完全不同的独特特性的材料设计机械手臂是很难实现的。所以团队决定进行多体动力学和有限元分析模拟,以更好地了解新材料在机械手臂设计中的性能。该团队使用海克斯康工业软件旗下的Adams及Nastran软件进行多体动力学仿真和有限元分析模拟。
 
 
 
图:铰链1-5的动态载荷仿真
 
为了确保设计能够安全地使用新的塑料材料(在本例中为聚酰胺),团队使用Adams进行了MBD分析,以计算一个运动周期内组件各个连接点上的载荷。
 
 
 
 
然后使用Adams计算的载荷,在MSC Nastran中对各个部件进行强度分析,以确保由于这些载荷引起的应力在允许的范围内。
 
 
 
图:有限元分析
 
下面是铸铁材料和聚酰胺工程塑料的比较:
多体动力学仿真:
• 总重量减少61.9kg(70.1%)
• 平均动态载荷减少了3043.8N(54.8%)
有限元仿真:
• 平均应力降低了67.7MPa(55.5%)
 
 
 
 
通过软件仿真,团队确信工程塑料聚酰胺的机械性能可以承受最大受力。此外,还发现所有部件的安全系数都大于1.0,这也证明了聚酰胺塑料是可以应用于机械手臂的材料,并有助于实现手臂轻量化的目标。根据动态载荷、强度和安全系数的模拟值,团队发现两种材料(聚酰胺塑料和铸铁)都符合要求的标准。
 
结论  
通过在CAE中使用多体动力学,该团队能够将手臂的总重量大幅减轻61.9公斤(或减少70.1%)。多体动力学也帮助团队将平均动力学载荷降低3043.8 N(或降低54.8%)。另外,在CAE中使用有限元仿真,帮助团队将平均应力降低了55.5%,比之前小了67.7 Mpa的应力。此外,与铸铁臂相比,该团队能够实现材料成本降低15%、组件重量降低70%的目标。
 
版权与免责声明:
本网站所刊登的文章及资料均来自互联网或投稿人,仅供读者参考和借鉴,不代表本网站赞同其观点和对其真实性负责。如涉及作品内容、版权和其它问题,请及时与本网站联系,我们将在第一时间进行处理。