智行千里, 造想未来

MORE +
电磁仿真

技术内容

流体仿真
Technical content
新闻资讯
结构仿真

有限元分析的战略规划

来源: | 作者:佚名 | 发布时间: 2024-02-21 | 327 次浏览 | 🔊 点击朗读正文 ❚❚ | 分享到:

规划求解策略

解决一个工程问题的第一步,就是考虑一个问题的各个方面。关注问题本身,而不是机械地模仿流程,才能保证所创建的模型精确地反映考虑的问题本身。仔细的计划,从长期看能够节省时间,保证更高质量的结果

 

理解你的求解策略和问题目标之间的关系,将帮你完成你的职责,给客户提供相关的信息:你所做的假设和所采用方法的局限。接下来的章节概述了在建模前需要考虑的问题,这些问题可以帮助你策划一个问题的求解策略。

 

沟通

通过保持你和客户之间清晰的沟通,可以帮助理解客户的需求。这很重要,它确保你直接了解客户的期望值。虽然客户(通常是设计师或制造人员)可能不理解有限元分析的细节,但他最了解设计要求及制造相关问题。理解客户的需求对完成一个成功的求解策略是决定性的。在开始有效的策划之前开会讨论项目,或至少重新确认一下项目的目标,是个好主意。

 

目标

1. 确定项目目标,例如

− 最大变形

− 最大应力

− 受载下的刚度

− 极限强度

− 疲劳寿命

− 振动特性

− 热应力

− 几个要求的综合

− 优化

2. 确定分析的特定目标

− 和所有相关人员达成一致,确立目标。

− 客户可能不能清晰的定义目标

如果一开始没有达成一致的清晰计划,项目可能会不断地改变方向。

 

资料

检查部件

• 记录过去的性能,如强度和缺点

• 在部件的工作环境下检查部件

• 研究相似分析的报告

• 和相关报告的作者讨论

• 观看录像或操作实验,观察运作中的部件

 

有限元仿真的可行性

确定有限元分析是否是解决问题的最好方法。可能有必要考虑其他的方法,例如经典分析方法,特别是如果时间有限,问题可以简化为简单的计算或者通过手册公式计算。

 

当现有的软件无法完成建模工作,应该考虑做实验。如果有部件实物,且之前确定了实验方法,总是应该考虑做一下实验。

 

只要有可能,就应该将实验和有限元仿真结合起来。试验结果提供了对建模和分析有用且深刻的理解,有限元结果能够帮助设计和理解实验过程。

 

时间约束

了解指导分析的时间表。这个信息将帮助确定是否在精度和可信度之间折衷,以便按时交付结果。但是在折衷之前,要努力和客户沟通达到妥协,获得更实际的时间周期分配给项目。考虑到需要很多的细节调整来得到结果,修正结果和其他很多问题所需的时间可能会增加。

 

考虑边界和周边系统

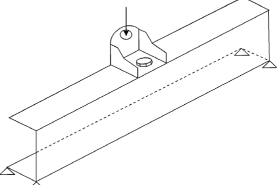
确定周边结构的数量,这些结构应该被包括在模型中,以便对使用环境精确描述。考虑局部细节和整个环境。考虑下图中的简单例子,其中包含局部结构和整体结构。如果研究细节,仅仅螺栓连接的部件就可以花费数年时间,然而支撑条件可能对整体结构的性能更重要。所以必须确定合适的边界条件和载荷。如果有以前的数据,应该利用起来帮助确定。如果利用了以前的数据,要清楚的明白和本次项目的关系,这样当被问起的时候,你可以做出清晰的回复。

 

 

有限元分析 

整个系统

有限元分析 

局部细节

 

决定确定的是支架的性能,还是横杆的性能,抑或螺栓连接的性能。

 

规划单元类型和模型规模

单元类型和目标模型规模是影响项目时间、精度和计算资源的重要因素。因为通常没有一个确定的答案,所以要用多少单元、什么类型单元的问题,可以参考下面这些点来确定。

 

l通常细节更多会更好一些。由于计算机计算速度的提高和价格的降低,用这个逻辑可以采用更少的假设和得到更高的精度。

l注意不要走极端,因为这将导致模型修改需要更多时间,并且计算也会需要更多时间。问题的规模随模型中节点数的平方增长,计算时间随节点数的立方增长。例如,如果节点数增加一倍,所需要的内存增加四倍,求解时间增加八倍。而且,当超过计算机可用的内存时,求解器必须用硬盘做虚拟内存,求解时间将不可预测。对特定求解器的经验将帮助确定模型的规模。

l假设设计信息细节完整。如果评估几个概念设计方案,你可能想用一个细节少一些的模型。不过一个完整成熟的设计更需要一个详细的有限元模型。

l接下来的章节内容会帮你确定单元类型和单元密度。

 

审查规划

“在开始前就想到结果”,对所选的方法和建模技术进行评审,要考虑下面的问题:

l什么结果最有用?

l你希望得到什么结果?

l什么地方可能出错?

l当你汇报结果的时候,可能会被问到什么问题?

l你有没有准备回答仿真分析涉及,或者没有涉及到的问题?

l你打算怎么汇报结果,用哪种形式?

 

你可能希望提前决定哪些表格,x-y 曲线、应力云图、变形云图将回答这些问题。进行这些思考将减少重新计算的可能,并让你做好准备讨论分析结果中的新发现。

 

策略规划的总结

安装下述步骤将帮助确保分析成功。

l和所有相关的人士讨论该问题。

l尽可能清晰的定义项目目标。

l调查该部件的历史资料。

l考虑其他的替代解决方案。

l根据可利用的时间确定实际可行的目标和方法。

l根据部件的运行环境确定求解策略。

l根据时间、精度和计算成本选择单元类型,确定单元数量。

l开始动手之前,就考虑最后的结果要求。

名称描述内容

  技术要点

相关内容

更多

品牌软件